Deprecated: Function eregi() is deprecated in /home/h101150-2/siemens71.ru/docs/new/cat.php on line 184
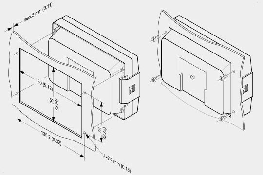
SITRANS FUE950, dimensions in mm (inch)
Wall mounting
Panel mounting, dimensions in mm (inch)


SITRANS FUE950, dimensions in mm (inch)
Wall mounting
Panel mounting, dimensions in mm (inch)
|
© ООО "СК ЭНЕРГО" 2007-2022 (4872) 700-366 |
|