M56340-A0046/-A0047 instrument bracket form H, for wall mounting, dimensions in mm
M56340-A0053/-A0079 instrument bracket form A, wall or pipe mounting, dimensions in mm


M56340-A0046/-A0047 instrument bracket form H, for wall mounting, dimensions in mm
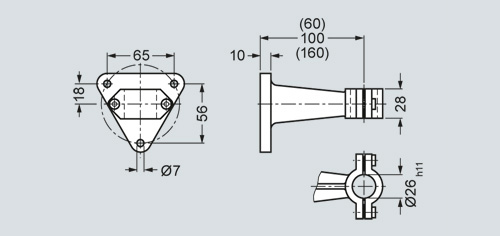
M56340-A0053/-A0079 instrument bracket form A, wall or pipe mounting, dimensions in mm
|
© ООО "СК ЭНЕРГО" 2007-2022 (4872) 700-366 |
|