|
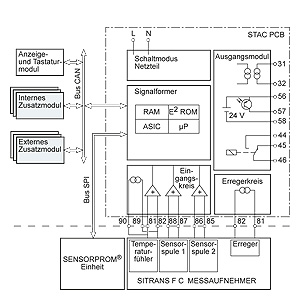
Принцип измерения расхода базируется на законе движения Кориолиса. Расходомер состоит из преобразователя расхода типа MASS 2100 или MC1 и преобразователя сигналов MASS 6000. Преобразователь расхода MASS 2100 / MC1 приводится электромеханической цепью возбуждения, которая возбуждает колебания трубопровода на резонансной частоте. Два сенсора, 1 и 2, располагаются симметрично с двух сторон задающего генератора . При прохождении жидкости или газа через преобразователь расхода кориолисова сила воздействует на измерительную трубку и вызывает отклонение трубы, которое может быть измерено на сенсоре 1 и 2 как пропорциональное массовому протоку смещение фаз. Амплитуда задающего генератора автоматически регулируется через " PLL" для обеспечения стабильного выходного сигнала обоих сенсоров в диапазоне от 80 до 110 мВ. Температура преобразователя расхода измеряется в мостовой схеме Уитстона через PT1000 (четырёхпроводная конструкция). Пропорциональный расходу сигнал обоих сенсоров, измеренное значение температуры и частота возбуждения подаются в преобразователь сигналов MASS 6000 и преобразуются в пропорциональные расходу сигналы, служащие для вычисления массового расхода, объемного расхода, фракционного расхода, температуры и плотности. Аналогово-цифровое преобразование осуществляется в малошумном ASIC с разрешением сигнала 23 бита. Функция передачи сигнала базируется на запатентованной технологии DFT (Discrete Fourier Transformation). ASIC это State Machine Gate Ar-ray, который обеспечивает быструю обработку и сглаживание сигналов и вызывает актуализацию массового расхода на 30 Гц . При неблагоприятных условиях монтажа и эксплуатации производительность расходомера может быть улучшена с помощью встроенного в ASCI шумового фильтра. Это позволяет значительно уменьшить такие типичные помехи, вызванные шумами процесса, как вибрации насоса, механические колебания или вибрации вентилей. Для целей коммуникации АSIC оснащен интерфейсом CAN со специфическим протоколом Siemens. Эта концепция известна как USM II (Universal Signal Modul). При этом к шине могут подключаться дополнительные выходные и коммуникационные модули. Это обеспечивает точное конфигурирование расходомера в соответствии с поставленной задачей. Как только внутренняя шина CAN распознает установленный модуль, он через SENSORPROM автоматически программируется на заводские установки и на индикации MASS 6000 появляется новое меню. SENSORPROM блок памяти В настоящее время платформа USM управляет всеми имеющимися и разрабатываемыми коммуникационными протоколами, например, PROFIBUS DA, PROFIBUS PA, HART, CANopen, De-viceNet, MODBUS. |
| Каталог 2018 | Каталог 2017 | Каталог 2016 | Каталог 2015 | Каталог 2014 | Каталог 2013 | Каталог 2012 | Сертификат | Контакты | Карта сайта | Поиск |


