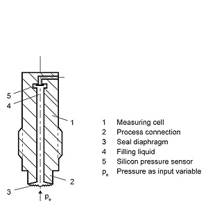
Operation of electronics with HART communicationFunction diagram of electronics The bridge output voltage created by the sensor (1, Figure "Function diagram of electronics") is amplified by the measuring amplifier (2) and digitized in the analog-to-digital converter (3). The digital information is evaluated in a microcontroller, its linearity and temperature response corrected, and converted in a digital-to-analog converter (5) into an output current of 4 to 20 mA. The diode circuit (10) protects against incorrect polarity. The data specific to the measuring cell, the electronics data, and the parameter data are stored in the two non-volatile memories (6). The one memory is coupled to the measuring cell, the other to the electronics. As the result of this modular design, the electronics and the measuring cell can be replaced separately from each other. Using the 3 input keys (8) you can parameterize the pressure transmitter directly at the measuring point. The input keys can also be used to control the view of the results, the error messages and the operating modes on the digital display (9). The HART modem (7) permits parameterization using a protocol according to the HART specification. The pressure transmitters with spans ≤ 63 bar g measure the input pressure compared to atmosphere, the transmitters with spans ≥ 160 bar g measure compared to vacuum. Operation of electronics with PROFIBUS PA communicationFunction diagram of electronics The bridge output voltage created by the sensor (1, Figure "Function diagram of electronics") is amplified by the measuring amplifier (2) and digitized in the analog-to-digital converter (3). The digital information is evaluated in the microcontroller, its linearity and temperature response corrected, and provided on the PROFIBUS PA through an electrically isolated PA interface (7). The data specific to the measuring cell, the electronics data, and the parameter data are stored in the two non-volatile memories (6). The first memory is linked with the measuring cell, the second with the electronics. This modular design means that the electronics and the measuring cell can be replaced separately from one another. Using the three input keys (8) you can parameterize the pressure transmitter directly at the measuring point. The input keys can also be used to control the view of the results, the error messages and the operating modes on the digital display (9). The results with status values and diagnostic values are transferred by cyclic data transmission on the PROFIBUS PA. Parameterization data and error messages are transferred by acyclic data transmission. Special software such as SIMATIC PDM is required for this. Operation of electronics with FOUNDATION fieldbus communicationFunction diagram of electronics The bridge output voltage created by the sensor (1, Figure "Function diagram of electronics") is amplified by the measuring amplifier (2) and digitized in the analog-to-digital converter (3). The digital information is evaluated in the microcontroller, its linearity and temperature response corrected, and provided on the FOUNDATION fieldbus through an electrically isolated FOUNDATION fieldbus interface (7). The data specific to the measuring cell, the electronics data, and the parameter data are stored in the two non-volatile memories (6). The one memory is coupled to the measuring cell, the other to the electronics. As the result of this modular design, the electronics and the measuring cell can be replaced separately from each other. Using the three input keys (8) you can parameterize the pressure transmitter directly at the measuring point. The input keys can also be used to control the view of the results, the error messages and the operating modes on the digital display (9). The results with status values and diagnostic values are transferred by cyclic data transmission on the FOUNDATION fieldbus. Parameterization data and error messages are transferred by acyclic data transmission. Special software such as National Instruments Configurator is required for this. Mode of operation of the measuring cellMeasuring cell for gage pressure with flush-mounted diaphragm Measuring cell for gage pressure, with flush-mounted diaphragm for paper industry, function diagram The pressure pe is applied through the process connection (2, Figure "Measuring cell for gage pressure, with flush-mounted diaphragm for paper industry, function diagram") to the measuring cell (1). This pressure is subsequently transmitted further through the seal diaphragm (3) and the filling liquid (4) to the silicon pressure sensor (5) whose measuring diaphragm is then flexed. This changes the resistance of the four piezo-resistors fitted in the diaphragm in a bridge circuit. This change in resistance results in a bridge output voltage proportional to the absolute pressure. ParameterizationDepending on the version, there are a range of options for parameterizing the pressure transmitter and for setting or scanning the parameters. Parameterization using the input keys (local operation) With the input keys you can easily set the most important parameters without any additional equipment. Parameterization using HART communication Parameterization using HART communication is performed with a HART communicator or a PC. Communication between a HART communicator and a pressure transmitter When parameterizing with the HART communicator, the connection is made directly to the 2-wire cable. HART communication between a PC communicator and a pressure transmitter When parameterizing with a PC, the connection is made through a HART modem. The signals needed for communication in conformity with the HART 5.x or 6.x protocols are superimposed on the output current using the Frequency Shift Keying (FSK) method. Adjustable parameter DS III HART and P300 HART
1) Cancel apart from write protection. Diagnostic functions for DS III HART and P300 HART
Available physical units of display for DS III HART and P300 HART
Parameterization through PROFIBUS PA interface Fully digital communication through PROFIBUS PA, profile 3.0, is particularly user-friendly. The PROFIBUS puts the DS III PA is in connection with a process control system, e.g. SIMATIC PSC 7. Communication is possible even in a potentially explosive environment. For parameterization through PROFIBUS you need suitable software, e.g. SIMATIC PDM (Process Device Manager). Parameterization through FOUNDATION fieldbus interface Fully digital communication through FOUNDATION fieldbus is particularly user-friendly. Through the FOUNDATION fieldbus the DS III FF is connected to a process control system. Communication is possible even in a potentially explosive environment. For parameterization through the FOUNDATION fieldbus you need suitable software, e.g. National Instruments Configurator. Adjustable parameters for DS III PA and FF and P300 PA and FF
Diagnostic functions for DS III PA and FF and P300 PA and FF
Physical dimensions available for the display
|
| Каталог 2018 | Каталог 2017 | Каталог 2016 | Каталог 2015 | Каталог 2014 | Каталог 2013 | Каталог 2012 | Сертификат | Контакты | Карта сайта | Поиск |


