|
| | | | | | | | |
ENG: SITRANS P300 (gauge pressure and absolute pressure)
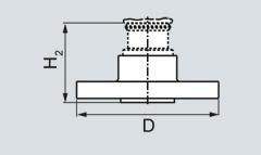
SITRANS P300, with oval flange, dimensions in mm (inch)
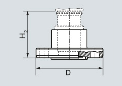
SITRANS P300, process connection M20 x 1.5, with mounted mounting bracket, dimensions in mm (inch)
SITRANS P300, flush-mounted, dimensions in mm (inch)
The diagram shows a SITRANS P300 with an example of a flange. In this drawing the height is subdivided into H1 and H2.
H1 = Height of the SITRANS P300 up to a defined cross-section
H2 = Height of the flange up to this defined cross-section
Only the height H2 is indicated in the dimensions of the flanges.
Flanges as per EN and ASME
Flange to EN
|
EN 1092-1
|
 |
DN
|
PN
|
∅D
|
H2
|
|
25
|
40
|
115 mm (4.5")
|
Approx. 52 mm (2")
|
|
25
|
100
|
140 mm (5.5")
|
|
40
|
40
|
150 mm (5.9")
|
|
40
|
100
|
170 mm (6.7")
|
|
50
|
16
|
165 mm (6.5")
|
|
50
|
40
|
165 mm (6.5")
|
|
80
|
16
|
200 mm (7.9")
|
|
80
|
40
|
200 mm (7.9")
|
Flanges to ASME
|
ASME B16.5
|
 |
DN
|
class
|
∅D
|
H2
|
|
1"
|
150
|
110 mm (4.3")
|
Approx. 52 mm (2")
|
|
1"
|
300
|
125 mm (4.9")
|
|
1½"
|
150
|
130 mm (5.1")
|
|
1½"
|
300
|
155 mm (6.1")
|
|
2“
|
150
|
150 mm (5.9")
|
|
2“
|
300
|
165 mm (6.5")
|
|
3“
|
150
|
190 mm (7.5")
|
|
3“
|
300
|
210 mm (8.1")
|
|
4“
|
150
|
230 mm (9.1")
|
|
4“
|
300
|
255 mm (10.0")
|
NuG and pharmaceutical connections
Connections to DIN
|
DIN 11851 (milk pipe union)
|
 |
DN
|
PN
|
∅D
|
H2
|
|
50
|
25
|
92 mm (3.6")
|
Approx. 52 mm (2")
|
|
80
|
25
|
127 mm (5.0")
|
|
TriClamp to DIN 32676
|
 |
DN
|
PN
|
∅D
|
H2
|
|
50
|
16
|
64 mm (2.5")
|
Approx. 52 mm (2")
|
|
65
|
16
|
91 mm (3.6")
|
Other connections
|
Varivent connection
|
 |
DN
|
PN
|
∅D
|
H2
|
|
40 ... 125
|
40
|
84 mm (3.3")
|
Approx. 52 mm (2")
|
|
Biocontrol connection
|
 |
DN
|
PN
|
∅D
|
H2
|
|
50
|
16
|
90 mm (3.5")
|
Approx. 52 mm (2")
|
|
65
|
16
|
120 mm (4.7")
|
|
Sanitary process connection to DRD
|
 |
DN
|
PN
|
∅D
|
H2
|
|
50
|
40
|
105 mm (4.1")
|
Approx. 52 mm (2")
|
| |
|
|
|
Sanitary process screw connection to NEUMO Bio-Connect
|
 |
DN
|
PN
|
∅D
|
H2
|
|
50
|
16
|
82 mm (3.2")
|
Approx. 52 mm (2")
|
|
65
|
16
|
105 mm (4.1")
|
|
80
|
16
|
115 mm (4.5")
|
|
100
|
16
|
145 mm (5.7")
|
|
2”
|
16
|
82 mm (3.2")
|
|
2½”
|
16
|
105 mm (4.1")
|
|
3”
|
16
|
105 mm (4.1")
|
|
4”
|
16
|
145 mm (5.7")
|
|
Sanitary process connection to NEUMO Bio-Connect flange connection
|
 |
DN
|
PN
|
∅D
|
H2
|
|
50
|
16
|
110 mm (4.3")
|
Approx. 52 mm (2")
|
|
65
|
16
|
140 mm (5.5")
|
|
80
|
16
|
150 mm (5.9")
|
|
100
|
16
|
175 mm (6.9")
|
|
2”
|
16
|
100 mm (3.9")
|
|
2½”
|
16
|
110 mm (4.3")
|
|
3”
|
16
|
140 mm (5.5")
|
|
4”
|
16
|
175 mm (6.9")
|
|
Sanitary process connection to NEUMO Bio-Connect clamp connection
|
 |
DN
|
PN
|
∅D
|
H2
|
|
50
|
16
|
77.4 mm (3.0")
|
Approx. 52 mm (2")
|
|
65
|
10
|
90.9 mm (3.6")
|
|
80
|
10
|
106 mm (4.2")
|
|
100
|
10
|
119 mm (4.7")
|
|
2”
|
16
|
64 mm (2.5")
|
|
2½”
|
16
|
77.4 mm (3.0")
|
|
3”
|
10
|
90.9 mm (3.6")
|
|
4”
|
10
|
779 mm (4.7")
|
|
Sanitary process connection to NEUMO Bio-Connect S flange connection
|
 |
DN
|
PN
|
∅D
|
H2
|
|
50
|
16
|
125 mm (4.9")
|
Approx. 52 mm (2")
|
|
65
|
10
|
145 mm (5.7")
|
|
80
|
10
|
155 mm (6.1")
|
|
100
|
10
|
180 mm (7.1")
|
|
2”
|
16
|
125 mm (4.9")
|
|
2½”
|
10
|
135 mm (5.3")
|
|
3”
|
10
|
145 mm (5.7")
|
|
4”
|
10
|
180 mm (7.1")
|
|
Threaded connection G¾", G1" and G2" acc. to DIN 3852
|
 |
DN
|
PN
|
∅D
|
H2
|
|
¾“
|
63
|
37 mm (1.5")
|
Approx. 45 mm (1.8")
|
|
1“
|
63
|
48 mm (1.9")
|
Approx. 47 mm (1.9")
|
|
2“
|
63
|
78 mm (3.1")
|
Approx. 52 mm (2")
|
|
Tank connection TG 52/50 and TG52/150
|
 |
DN
|
PN
|
∅D
|
H2
|
|
25
|
40
|
63 mm (2.5")
|
Approx. 63 mm (2.5")
|
|
25
|
40
|
63 mm (2.5")
|
Approx. 170 mm (6.7")
|
|
SMS socket with union nut
|
 |
DN
|
PN
|
∅D
|
H2
|
|
2“
|
25
|
84 mm (3.3")
|
Approx. 52 mm (2.1")
|
|
2½“
|
25
|
100 mm (3.9")
|
|
3“
|
25
|
114 mm (4.5")
|
|
SMS threaded socket
|
 |
DN
|
PN
|
∅D
|
H2
|
|
2“
|
25
|
70 x 1/6 mm
|
Approx. 52 mm (2.1")
|
|
2½“
|
25
|
85 x 1/6 mm
|
|
3“
|
25
|
98 x 1/6 mm
|
|
IDF socket with union nut
|
 |
DN
|
PN
|
∅D
|
H2
|
|
2“
|
25
|
77 mm (3")
|
Approx. 52 mm (2.1")
|
|
2½“
|
25
|
91 mm (3.6")
|
|
3“
|
25
|
106 mm (4.2")
|
|
IDF threaded socket
|
 |
DN
|
PN
|
∅D
|
H2
|
|
2“
|
25
|
64 mm (2.5")
|
Approx. 52 mm (2.1")
|
|
2½“
|
25
|
77,5 mm (3.1")
|
|
3“
|
25
|
91 mm (3.6")
|
|
Aseptic threaded socket to DIN 11864-1 Form A
|
 |
DN
|
PN
|
∅D
|
H2
|
|
50
|
25
|
|
Approx. 52 mm (2.1")
|
|
65
|
25
|
|
|
80
|
25
|
|
|
100
|
25
|
|
|
Aseptic flange with notch to DIN 11864-2 Form A
|
 |
DN
|
PN
|
∅D
|
H2
|
|
50
|
16
|
|
Approx. 52 mm (2.1")
|
|
65
|
16
|
|
|
80
|
16
|
|
|
100
|
16
|
|
|
Aseptic flange with groove to DIN 11864-2 Form A
|
 |
DN
|
PN
|
∅D
|
H2
|
|
50
|
16
|
|
Approx. 52 mm (2.1")
|
|
65
|
16
|
|
|
80
|
16
|
|
|
100
|
|
|
|
Aseptic clamp with groove to DIN 11864-3 Form A
|
 |
DN
|
PN
|
∅D
|
H2
|
|
50
|
25
|
|
Approx. 52 mm (2.1")
|
|
65
|
25
|
|
|
80
|
16
|
|
|
100
|
16
|
|
|