Siemens
СРЕДСТВА ПРОМЫШЛЕННОЙ АВТОМАТИЗАЦИИ
официальный партнер Сименс
Каталог СА01 2014
архивный
(4872) 700-366
skenergo@mail.ru
SITRANS FUS380

Конструкция трубы

2-трековый сенсор с фланцами и встроенными преобразователями, откалиброванный на заводе

Номинальный размер сварной версии

DN 100, 125, 150, 200, 250, 300, 350, 400, 500, 600, 700, 800

Номинальное давление

PN 16, PN 25, PN 40 EN 1092-1

Материал трубы

Углеродистая сталь EN 1.0345 / P235 GH

Конструкция преобразователя

Компактная версия, приваренная на трубу

Материал преобразователя

Нерж. сталь AISI 316

Условия использования сенсора

 

Хранение

-40 … +85 °C (-40 … +185 °F)

Температура жидкости

  • Раздельный: 2 … 200 °C (35.6 … 392 °F)
  • Компактный: 2 … 120 °C (35.6 … 248 °F)

Степень защиты

Соединение сенсора IP67/NEMA 4X/6

Макс. скорость потока

DN 100 … 800:

  • FUS380: 8 м/с (26.2 ft/s)
  • FUE380: 6 м/с (19.7 ft/s)

Измерительный преобразователь

 

Дисплей

ЖК-дисплей, 8-разрядный, 2 дополнительных позиции и
символы для индикации статуса

Кнопка

1 кнопка для режима индикации

Коммуникации

Дополнительные модули:

  • RS 232 послед. интерфейс с MODBUS RTU (Rx/Tx/GND),
    точка-точка с кабелем макс. 15 м
  • RS 485 послед. интерфейс с MODBUS RTU (+/-/GND), мультиточка, макс. 32 устройства с кабелем макс. 1000 м

Протокол MODBUS RTU - это открытый протокол
(дополнительная информация имеется по запросу)

Скорость обмена 1200, 2400, 4800, 9600, 19200, 38400 бод

Корпус

IP67/NEMA4X/6 согласно EN 60529 и DIN 40050

Окружающая температура

0 … 60 °C (32 … 140 °F)

Температура хранения

-40 … +85 °C (-40 … +185 °F) (с батареей)

Монтаж

Компактно на сенсор: макс. 120 °C
Раздельно: макс. удаление 30 м от преобразователя

Механические вибрации

2 g, 1 ... 800 Гц синусоидальные во всех направлениях по IEC 68-2-6

Конструкция

Полиамид, армированный стекловолокном

Источник питания

  • Батарея: заменяемая батарея 3,6 В
    LiSOCl (литий-тионил-хлорид) 32 Ач
  • Сеть: AC 87 ... 265 В (50 ... 60 Гц)

Скорость измерения

Питание от батареи: 0,5 Гц
Питание от сети: 20 Гц
Резервный режим: 0,5 Гц (при отключении питания)

 

Цифровой выход

2 пассивных, гальванически изолированных релейных МОП-
выхода A и B, макс. AC/DC ±35 В, 50 мА

Макс. частота импульсов

100 Гц

Индикация сигнализации

Трек 1 (F1), трек 2 (F3), низкий заряд батареи (F5), переполнение qs (F6), импульсное переполнение (F7)

Длина кабеля

Макс. 30 м между сенсором и преобразователем

ЭМС

  • Излучение по EN 61000-6-4
  • Устойчивость по EN 61000-6-2

Approvals

EN 1434 and OIML R75 Class 2
(EN версия от 1 июля 2002)


 

Настройки в зависимости от типа
 

FUS380

FUE380

Значение расхода

Предустановленные настройки согласно размерам

Предустановлено согласно EN 1434 / OIML R75

Допуск

Нет допусков

В зависимости от страны

Flow rate vf

0.02 … 8 м/с

0.02 … 6 м/с

Выход A

Прямой / реверсный

Установлено: Прямой

Выход B

Установлено: сигнализация

Установлено: сигнализация

Функция выхода B

Реверс импульсов, сигнализация или вызов

Установлено: сигнализация

Значение импульса
А и B (в зависимости от значения DN)

0,25 л/имп., 0,5 л/имп., 1 л/имп., 2,5 л/имп., 10 л/имп., 50 л/имп., 100 л/имп.,
250 л/имп, 500 л/имп, 1 м3/имп., 2,5 м3/имп., 5 м3/имп. 10 м3/имп., 25 м3/имп., 50 м3/имп., 100 м3/имп., 250 м3/имп., 500 м3/имп., 1000 м3/имп

Установлено: см. схему на предыдущ. странице

Установлено или произвольно выбирается для SITRANS FUE950

Ширина импульса

5/10/20/50/100/200/ 500 мс

Установлено: 5 мс

Настройка единиц расхода

Установлено: м3/час

Установлено: м3/час

Настройка единиц объема

Установлено: м3

Установлено: м3


 

Погрешность SITRANS FUS380

Чтобы обеспечить непрерывное точное измерение, расходомеры должны быть откалиброваны. Калибровка выполняется на
оборудовании SIEMENS, аккредитованном в DANAK или UKAS согласно ISO/IEC 17025.

Аккредитующие организации DANAK и UKAS подписали соглашение ILAC MRA (International Laboratory Accreditation Corporation - Mutual Recognition Arrangement). Поэтому данная аккредитация гарантирует международное единство измерений и признание результатов тестов в 39 странах по всему миру, включая США (единство измерений с NIST).

Калибровочный сертификат поставляется с каждым SITRANS FUS380.

 

Погрешность SITRANS FUS380:

Стандартная калибровка: лучше чем 0.5% от расхода, 0.5 m/s < v < 8 m/s

v < 0.5 m/s, 0.5 + 0.25/v [%]

 

Конфигурация выхода SITRANS FUS380:

0.5 + 0.02 qp/q [%]

qp в соответствии с требований EN 1434/OIML.

Пример DN 100, qp = 60 m3/h at q = 1.2 m3/h:

Точность = стандартно 1.5%

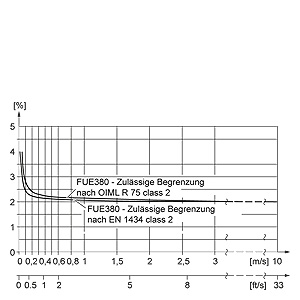
SITRANS FUE380 соответствует требованиям Ef = ±(2 + 0.02 qp/qi) max. ±5%, в соответствии с EN 1434 и OIML R75, класс 2 версия 1. июля 2002

 

Конфигурация выхода  SITRANS FUS380/FUE380

Вес импульса: выходы A/B конфигурируются как объем на один импульс, вычисляемый на прямом/реверсном потоке или потоке нетто. Величина веса импульса свободно масштабируется (через ПО PDM).

Вызов: выход вызова активен до тех пор, пока не будет сброшен вручную с помощью программы для ПК. Функция вызова активируется при активации сигнализации.


































Каталог оборудования 2014
Каталог продуктов Siemens Industry Приводная техника Техника автоматизации Системы автоматизации Системы визуализации SIMATIC HMI Системы идентификации Промышленные коммуникации SIMATIC NET Промышленные аппараты управления SIRIUS Промышленные информационные технологии Управление на базе РС Системы управления процессом Датчики Контрольно-измерительные приборы Измерительные преобразователи для давления Датчики давления Приборы измерения температуры SITRANS T Расходомеры Введение SITRANS F M электромагнитные расходомеры SITRANS F C - кориолисов массовый расходомер SITRANS F US - ультразвуковой расходомер Врезные ультразвуковые расходомеры Общая информация и руководство по подбору SITRANS FUS060 преобразователь сигнала SITRANS FUS080 преобразователь сигнала SONOFLO SONO 3300 Industry ультразвуковой расходомер SONOFLO SONO 3100 ультразвуковой расходомер SONOFLO SONOKIT ультразвуковой расходомер для монтажа на существующем трубопроводе SONOFLO SONO 3300/3000 Custody Transfer - ультразвуковой расходомер SITRANS FU380 SITRANS FUS380 Energy calculator SITRANS FUE950 Накладные ультразвуковые расходомеры SITRANS F X (Vortex) SITRANS F O delta p primary differential pressure devices SITRANS F R rotary-piston meters SITRANS F RA110 electric flow registers Pulsers with inductive pick-up Уровнемеры Расходомеры и счетчики Позиционеры Устройство для защиты и пуска двигателей SIMOCODE-DP Сигнализаторы сбоев в промышленном процессе Дополнительные компоненты Коммуникации и программное обеспечение Аппаратные ПИД-регуляторы SIPART Встраиваемые самописцы и индикаторы Анализаторы процесса Технологии взвешивания Блоки питания Продукты для специальных требований Автоматизация и безопасность зданий Низковольтная коммутационная техника Технология безопасности Системные решения и продукты для отраслей Сервис ... и все, что Вам еще необходимо

  © ООО "СК ЭНЕРГО" 2007-2022
  (4872) 700-366  skenergo@mail.ru
Яндекс.Метрика