Принцип работы электроники DS III HART
Схема работы электроники
Созданное сенсором (1, рис. „Схема работы электроники“) мостовое выходное напряжение усиливается измерительным усилителем (2) и оцифровывается в аналогово-цифровом преобразователе (3). Цифровая информация обрабатывается в микроконтроллере, исправляется в соответствии с линейностью и температурной характеристикой и преобразуется в цифрово-аналоговом преобразователе (5) в выходной ток 4 до 20 мА.
Диодная схема (10) осуществляет защиту от спутывания полярности.
Специфические параметры измерительных ячеек, параметры электроники и параметрирования фиксируются в двух энергонезависимых ЗУ (6). Первое ЗУ соединено с измерительной ячейкой, второе - с электроникой. Тем самым возможна раздельная замена электроники и измерительной ячейки.
Через 3 клавиши управления (8) можно параметрировать измерительный преобразователь давления непосредственно на месте измерения. Кроме этого, через клавиши управления можно управлять индикацией результатов измерения, сообщениями об ошибках, а также режимами управления в цифровом индикаторе (9).
HART-модем (7) позволяет осуществлять параметрирование через протокол согласно HART-спецификациям.
Измерительные преобразователи давления с интервалами измерения ≤ 63 бар измеряют входное давление относительно атмосферного давления, измерительные преобразователи давления с интервалами измерения ≥ 160 бар - относительно вакуума.
Принцип работы электроники DS III PA
Схема работы электроники
Созданное сенсором (1, рис. „Схема работы электроники“) мостовое выходное напряжение усиливается измерительным усилителем (2) и оцифровывается в аналогово-цифровом преобразователе (3). Цифровая информация обрабатывается в микроконтроллере, исправляется в соответствии с линейностью и температурной характеристикой и предоставляется через интерфейс с разделением потенциалов PA (7) на PROFIBUS PA.
Специфические параметры измерительных ячеек, параметры электроники и параметрирования фиксируются в двух энергонезависимых ЗУ (6). Первое ЗУ соединено с измерительной ячейкой, второе - с электроникой. Тем самым возможна раздельная замена электроники и измерительной ячейки.
Через 3 клавиши управления (8) можно параметрировать измерительный преобразователь давления непосредственно на месте измерения. Кроме этого, через клавиши управления можно управлять индикацией результатов измерения, сообщениями об ошибках, а также режимами управления в цифровом индикаторе (9).
Результаты измерения со значениями состояния и данные диагностики циклически передаются через PROFIBUS PA. Данные параметрирования и сообщения об ошибках передаются ациклически. Для этого необходимо специальное ПО, например, SIMATIC PDM.
Принцип работы электроники DS III FF
Схема работы электроники
Созданное сенсором (1, рис. „Схема работы электроники“) мостовое выходное напряжение усиливается измерительным усилителем (2) и оцифровывается в аналогово-цифровом преобразователе (3). Цифровая информация обрабатывается в микроконтроллере, исправляется в соответствии с линейностью и температурной характеристикой и предоставляется через интерфейс с разделением потенциалов Foundation (7) на полевой шине Foundation.
Специфические параметры измерительных ячеек, параметры электроники и параметрирования фиксируются в двух энергонезависимых ЗУ (6). Первое ЗУ соединено с измерительной ячейкой, второе - с электроникой. Тем самым возможна раздельная замена электроники и измерительной ячейки.
Через 3 клавиши управления (8) можно параметрировать измерительный преобразователь давления непосредственно на месте измерения. Кроме этого, через клавиши управления можно управлять индикацией результатов измерения, сообщениями об ошибках, а также режимами управления в цифровом индикаторе (9).
Результаты измерения со значениями состояния и данные диагностики циклически передаются через полевую шину Foundation. Данные параметрирования и сообщения об ошибках передаются ациклически. Для этого необходимо специальное ПО, например, National Instruments Configurator.
Принцип работы измерительных ячеек
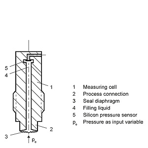
Изм. ячейка для избыточного давления
Измерительная ячейка для избыточного давления, функциональная схема
Давление pe через подсоединение к процессу (2, рис. “Измерительная ячейка для избыточного давления, функциональная схема”) подается на измерительную ячейку (1). После этого оно через разделительную мембрану (3) и наполнительную жидкость (4) передается на кремневый сенсор давления (5), отклоняя тем самым его мембрану. Четыре установленных на измерительную мембрану по мостовой схеме пьезо-сопротивления изменяют из-за этого свою величину сопротивления. Данное изменение сопротивления вызывает мостовое выходное напряжение, пропорциональное входному давлению.
Параметрирование
В зависимости от конструкции имеются различные возможности для параметрирования измерительного преобразователя и установки или опроса параметров.
Параметр. через клавиши управления (локальное управление)
Через клавиши управления просто и без вспомогательных средств можно установить важнейшие параметры.
Параметрирование через коммуникацию HART
Параметрирование через коммуникацию HART осуществляется через коммуникатор HART или PC.
Коммуникация между HART- коммуникатором и змерительным преобразователем
При параметрировании с помощью HART-коммуникатора подсоединение осуществляется непосредственно к 2-х проводной линии.
Коммуникация между PC или ноутбуком и измерительным преобразователем
Для параметрирования с помощью PC осуществляется промежуточное подключение HART-модема.
Необходимые для коммуникации по HART-протоколу 5.x или 6.x сигналы накладываются на выходной ток по частотно- коммутационному методу (FSK, Frequency Shift Keying).
Устанавливаемый параметр DS III HART и P300 HART
|
Параметр |
Клавиши управления |
Коммуникация HART |
|---|---|---|
|
Начало измерения |
x |
x |
|
Конец измерения |
x |
x |
|
Электрическое демпфирование |
x |
x |
|
Установка начала измерения “в слепую” |
x |
x |
|
Установка конца измерения “в слепую” |
x |
x |
|
Коррекция нулевой точки |
x |
x |
|
Задатчик тока |
x |
x |
|
Ток ошибки |
x |
x |
|
Блокировка клавиатуры и защита записи |
x |
x 1) |
|
Единица измерения |
x |
x |
|
Характеристика (линейная) |
x |
x |
|
Ввод характеристик |
|
x |
|
Свободно-программируемый ЖКД |
|
x |
|
Функции диагностики |
|
x |
1) Кроме отмены защиты записи
Функции диагностики для DS III HART и P300 HART
- индикация коррекции нулевой точки
- счетчик событий
- датчик предельного значения
- тревога насыщения
- индикатор макс./мин. значения за период
- функции симуляции
- таймер ТО
Доступные физические единицы индикации для DS III HART и P300 HART
|
Физ. величина |
Физ. единицы |
|---|---|
|
Давление (возможно и какзаводская предустановка) |
Pa, MPa, kPa, hPa, bar, mbar, torr, atm, psi, g/cm2, kg/cm2, inH2O, inH2O (4 °C), mmH2O, ftH2O, inHg, mmHg |
|
Уровень (данные высоты) |
m, cm, mm, ft, in |
|
Объем |
m3, dm3, hl, yd3, ft3, in3, US gallon, lmp, gallon, bushel, barrel, barrel liquid |
|
Суммарный массовый расход |
g, kg, t, lb, Ston, Lton, oz |
|
Температура |
K, °C, °F, °R |
|
Прочие |
%, mA |
Параметрирование через интерфейс PROFIBUS
Особенно удобной является полностью цифровая коммуникация через PROFIBUS PA, профиль 3.0. Через PROFIBUS DS III PA соединяется с системой управления процессом, например, SIMATIC PSC 7. Коммуникация возможна даже во взрывоопасной зоне.
Для параметрирования через PROFIBUS необходимо соответствующее ПО, например, SIMATIC PDM (Process Device Manager)
Параметрирование через интерфейс полевой шины Foundation
Особенно удобной является полностью цифровая коммуникация через полевую шину Foundation. Через полевую шину Foundation DS III FF соединяется с системой управления процессом. Коммуникация возможна даже во взрывоопасном окружении.
Для параметрирования через полевую шину Foundation необходимо соответствующее ПО, например, National Instruments Configurator.
Устанавливаемый параметр DS III PA и FF и P300 PA
|
Устанавливаемый параметр |
Клавиши управления |
Интерфейсы PROFIBUS PA и Foundation |
|---|---|---|
|
Электрическое демпфирование |
x |
x |
|
Коррекция нулевой точки (коррекция положения) |
x |
x |
|
Блокировка клавиш и/или функций |
x |
x |
|
Индикация |
x |
x |
|
Физическая единица индикации |
x |
x |
|
Позиция десятичной точки |
x |
x |
|
Адрес на шине |
x |
x |
|
Коррекция характеристик |
x |
x |
|
Ввод характеристик |
|
x |
|
Свободно-программируемая индикация ЖКД |
|
x |
|
Функции диагностики |
|
x |
Функции диагностики для DS III PA и FF и P300 PA
- счетчик событий
- указатель макс. и мин. значения за период
- таймер ТО
- функции моделирования
- индикация коррекции нулевой точки
- датчик предельного значения
- тревога насыщения
Доступные физические единицы индикации
|
Физ. величина |
Физ. единицы |
|---|---|
|
Давление (возможно и как заводская предустановка) |
MPa, hPa, kPa, Pa, bar, mbar, torr, atm, psi, g/cm2, kg/cm2, mmH2O, mmH2O (4 °C), inH2O, inH20 (4 °C), ftH2O, mmHg, inHg |
|
Уровень (данные высоты) |
m, cm, mm, ft, in, yd |
|
Массовый поток |
g, kg, t, lb, Ston, Lton, oz |
|
Объем |
m3, dm3, hl, yd3, ft3, in3, US gallon, lmp, gallon, bushel, barrel, barrel liquid |
|
Температура |
K, °C, °F, °R |
|
Прочие |
% |


